XVDEVIOS官方下载免费版,XVDEVIOS破解版安卓手机安装包,XDEVIOS官方免费版安装,XVDEVIOS中文版安装包

芬兰Kibron专注XVDEVIOS破解版安卓手机安装包测量技术,快速精准测量动静态表面张力

热线:021-66110810,66110819,66110690,13564362870 Email: info@vizai.cn

合作客户/

拜耳公司.jpg

拜耳公司

同济大学

同济大学

联合大学.jpg

联合大学

宝洁公司

美国保洁

强生=

美国强生

瑞士罗氏

瑞士罗氏

当前位置首页 > 新闻中心

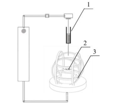
液体分布器设计与表面张力有何关联之处

来源:大连理工大学 浏览 1269 次 发布时间:2024-05-27

在液相反应或液相结晶过程中,液体的加入是重要的步骤。传统滴加方式导致加样点附近局部浓度远高于主体浓度,在液相反应中,将使加样点附近反应速率过高,容易导致副反应发生,在放热反应中,容易导致局部温度过高;在液相结晶过程中,局部浓度过高带来极高的过饱和度,极易出现爆发成核,导致晶体产品粒度分散,形貌不佳。另外,在已经发表的关于搅拌装置和加样装置的文献或专利中,加样多为直接滴加,且搅拌和加样通常是独立进行的,这种工作方式加样位点与搅拌器高速旋转点位不同步,搅拌效率低。


因此,需要开发一种新型加样和液相混合方式,降低加样点附近的局部浓度,以避免上述传统加样方式对液相反应或者结晶过程中的不利影响。

(1)液体分布器的设计:


液体分布器的主体结构为具有一定厚度的弯曲多角形;该弯曲多角形为旋转对称结构,含有2-8个角;液体分布器分为分散部和磁控部,分散部包含有液槽和流道;流道为倾斜流道,倾斜方向为分散部高度下降的方向,倾斜角度为1°-30°,流道分布在一个或多个角上;液槽为圆形,位于分散部中心,液槽底部与所有流道连通;磁控部位于分散部的底部内中心处的一个密封凹槽中,为密封凹槽中所装填的磁性物质;


(2)液体分布器的制造:


通过3D打印分散部和磁控部,在凹槽中加入磁性物质后,再通过紫外光固化将分散部和磁控部结合为一体;


磁性物质为四氧化三铁粉末、钕铁硼粉末、二氧化铬粉末中一种或两种以上的混合物。


(3)进行液体分散:


1)在反应容器加入主体液相;


2)将液体分布器置于反应容器中,磁控部沉入主体液相中,分散部暴露在主体液相液面上方;


3)将反应容器转移到三维磁场发生器的置物台上;


4)在微量加样器中加入待分散液体后,将微量加样器悬于液体分布器对应的液槽上方;


5)开启旋转磁场,设定磁场强度,磁场频率;


6)液体分布器稳定旋转一段时间,在主体液相中形成稳定流场后,通过微量进样器向液体分布器液槽内滴入待分散液体;


7)加入的带分散液体在重力、离心力及表面张力的共同作用下通过与液体分布器连通的倾斜流道分散排出,进入主体液相,磁控部同时搅拌促进两相的混合。


通过磁场驱动液体分布器旋转,液槽中的液滴经由多个弯曲流道分散为多股,在旋转线速度最大处连续进入主体相中,大大减小了直接滴加导致的局部高浓度;加样位点与液体分布器的快速旋转位点相同,直接高效率地消耗分散加样点附近局部浓度,避免了直接滴加对液相反应或结晶过程的不利影响。同时,采用外部磁场控制使得器件转速更高,可调性更强,可以强化待分散液体与主体相的混合。


网站地图