合作客户/
拜耳公司 |
同济大学 |
联合大学 |
美国保洁 |
美国强生 |
瑞士罗氏 |
相关新闻Info
推荐新闻Info
-
> 表面张力对机械结合面接触载荷、真实接触面积以及接触刚度的影响规律(四)
> 表面张力对机械结合面接触载荷、真实接触面积以及接触刚度的影响规律(三)
> 表面张力对机械结合面接触载荷、真实接触面积以及接触刚度的影响规律(二)
> 表面张力对机械结合面接触载荷、真实接触面积以及接触刚度的影响规律(一)
> 一种改进的CSF模型:用于SPH流体仿真的光滑表面张力模拟(二)
> 一种改进的CSF模型:用于SPH流体仿真的光滑表面张力模拟(一)
> 减弱贾敏效应的方法|表面活性剂改善贾敏效应实验
> 贾敏效应实验方法与步骤、结果
> 贾敏效应机理、影响因素及其在低渗透油藏开发中的危害(一)
> 面向高效环保灭火剂的界面张力最小化:短链氟碳复配体系的设计与解析(四)
新型热塑性材料注塑成型模具,克服熔体在流动过程中的表面张力和气体阻碍
来源:新乡市仲达塑胶电子有限公司 浏览 1215 次 发布时间:2024-07-11
新型热塑性材料主要包括聚氯乙烯(PVC)、聚苯醚(PPO)、氯化聚醚等。通常具备优异的物理和化学性质,如低密度、高强度、良好的加工性能以及可回收性,新型热塑性材料具有加热软化、冷却硬化的特性,这种状态可以多次反复,适合通过注塑成型进行加工。
目前,现有的注塑成型模具在使用过程中,由于新型热塑性材料具有较高的熔体黏度,会增加熔体在模具内的流动阻力,使得熔体在填充阶段难以充分到达型腔的所有角落,尤其是薄壁、深腔或复杂几何形状部位,导致填充不足,从而影响制品的整体尺寸精度,因此,本申请提供了一种新型热塑性材料注塑成型模具来满足需求。
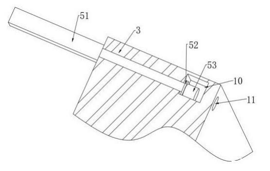
一种新型热塑性材料注塑成型模具,包括:上模具;下模具,设置在所述上模具的下方,作为模具的基本组成,上模具与下模具共同构成了成型空间,即型腔,用于接纳熔融的新型热塑性材料,并在其冷却后形成所需形状的制品;热流部,设置在所述下模具内,用于熔体在恒温状态下流动;所述热流部包括:热流板,设置在所述下模具内;加热丝,设置在所述热流板内;阻隔板,设置在所述热流板内,且位于所述加热丝底部;通气孔,设置在下模具上;流动通道,设置在所述下模具上,且靠近所述通气孔;外接管,连通设置在所述流动通道上,用于模具使用抽取空气,形成局部负压环境。
还包括:收纳槽,设置在所述上模具上;修整片,设在所述下模具上,且与所述收纳槽相对应,用于修整成型注塑件。
还包括:阻挡部,设置在所述下模具上,用于阻挡所述通气孔;所述阻挡部包括:气缸,设置在所述下模具上;密封圈,活动设置在所述流动通道内;阻挡块,活动设置在所述密封圈上,且与所述通气孔相吻合。
所述气缸的输出端延伸至流动通道内,且与所述密封圈连接。
还包括:若干放置槽,设置在所述下模具上;若干连接槽,设置在所述上模具上,且所述放置槽与所述连接槽相对应;若干电动伸缩杆,设置在所述放置槽内,且所述电动伸缩杆的输出端延伸至所述连接槽内,并与所述上模具连接。
还包括:注塑口,设置在所述上模具上;出料液压杆,设置在所述下模具上,用于注塑件排出。
还包括:检测器,设置在所述外接管上。
图1为新型热塑性材料注塑成型模具结构示意图;
1、上模具;2、注塑口;3、下模具;4、收纳槽;5、阻挡部;6、外接管;7、检测器;8、修整片;9、放置槽;10、流动通道;11、通气孔;12、热流部;13、出料液压杆;14、连接槽;15、电动伸缩杆;51、气缸;52、密封圈;53、阻挡块;121、热流板;122、加热丝;123、阻隔板。
通过设置热流部,使得新型热塑性材料注塑成型时,提供热量以保持熔体温度,确保其黏度处于较低水平,提高流动性,通过设置外接管、流动通道和通气孔,可将模具内部空气抽出,减少熔体在模具内部的生成气泡,同时在模具内形成负压环境能够帮助克服熔体在流动过程中的表面张力和气体阻碍,负压可以显著增强熔体的推进能力,促进其深入填充难以到达的区域。





